| ์ผ | ์ | ํ | ์ | ๋ชฉ | ๊ธ | ํ |
|---|---|---|---|---|---|---|
| 1 | 2 | 3 | 4 | 5 | 6 | |
| 7 | 8 | 9 | 10 | 11 | 12 | 13 |
| 14 | 15 | 16 | 17 | 18 | 19 | 20 |
| 21 | 22 | 23 | 24 | 25 | 26 | 27 |
| 28 | 29 | 30 | 31 |
- SW
- axios
- maeil-mail
- ์๊ณ ๋ฆฌ์ฆ
- redux-toolkit
- react
- Get
- sw expert academy
- redux-saga
- Python
- react-router
- ์ด์ฝํ
- ํ๋ก๊ทธ๋๋จธ์ค
- ๋งค์ผ๋ฉ์ผ
- createSlice
- java
- json-server
- JavaScript
- ์ฝ๋ฉํ ์คํธํฉ๊ฒฉ์๋๊ธฐ
- react-redux
- programmers
- ์๋ฐ
- ํญํดํ๋ฌ์ค
- ๋ฆฌ์กํธ
- redux
- useDispatch
- C++
- ํญํด99
- Algorithm
- ํ ์ฝํ ์ฝ
- Today
- Total
Binary Journey
[Java] ์ฝ๋๋ก ์์ํ๋ ์๋ฐ ์ฒซ ๊ฑธ์ (1-3) ๋ณธ๋ฌธ
[Java] ์ฝ๋๋ก ์์ํ๋ ์๋ฐ ์ฒซ ๊ฑธ์ (1-3)
binaryJournalist 2024. 12. 19. 23:41๐ก inflearn ๊น์ํ์ ์ค์ ์๋ฐ ๋ก๋๋งต์ ๋ฐ๋ผ ํ์ตํ๊ณ ๋ณต์ตํ ๋ด์ฉ์ ์ ์์ต๋๋ค.
Hello World
๐ก ํ๋ก๊ทธ๋จ ์ธ์ด๋ ์์ผ๋ก ์์ฑํด์ผ ํฉ๋๋ค.
์๋ฐ ํ๋ก๊ทธ๋จ ์คํ
public class HelloJava { // HelloJava ํด๋์ค์ ๋ฒ์ ์์
public static void main(String[] args) { // main ๋ฉ์๋์ ๋ฒ์ ์์
System.out.println("hello java");
} // main ๋ฉ์๋์ ๋ฒ์ ๋
} // HelloJava ํด๋์ค์ ๋ฒ์ ๋
- ์๋ฐ ์ธ์ด๋ ๋์๋ฌธ์๋ฅผ ๊ตฌ๋ถํ๋ค.
public class HelloJava
- ํ์ผ๋ช ๊ณผ ํด๋์ค ์ด๋ฆ์ด ๊ฐ์์ผ ํ๋ค.
{}๋ธ๋ก์ ์ฌ์ฉํด์ ํด๋์ค์ ์์๊ณผ ๋์ ๋ํ๋ธ๋ค.
public static void main(String[] args)
main๋ฉ์๋ ํจ์- ์๋ฐ๋
main๋ฉ์๋๋ฅผ ์ฐพ์ ํ๋ก๊ทธ๋จ์ ์์ํ๋ค. - ํ๋ก๊ทธ๋จ์ ์์์ ์ด๋ค.
{}๋ธ๋ก์ ์ฌ์ฉํด์ ํด๋์ค์ ์์๊ณผ ๋์ ๋ํ๋ธ๋ค.
System.out.println("hello java");
- ๊ฐ์ ์ฝ์์ ์ถ๋ ฅํ๋ค.
- ๋ฌธ์์ด์
""์๋ฐ์ดํ๋ก ๊ฐ์ผ๋ค. - ๋ช
๋ น์ด์ ๋์
;์ผ๋ก ๋๋ธ๋ค.
public class HelloJava2 {
public static void main(String[] args) {
System.out.println("hello java1");
System.out.println("hello java2");
System.out.println("hello java3");
}
}
main์ผ๋ก๋ถํฐ ์์์ ์๋๋ก ์งํํ๋ค.
์ฃผ์ (Comment)
public class CommentJava {
// psvm
public static void main(String[] args) {
// sout
System.out.println("hello java1"); // hello java1์ ์ถ๋ ฅํฉ๋๋ค.
// System.out.println("hello java2");
/*
System.out.println("hello java3");
System.out.println("hello java4");
*/
}
}
//
- ํ์ค ์ฃผ์
/* */
- ์ฌ๋ฌ ์ค ์ฃผ์
์๋ฐ๋?
์๋ฐ ํ์ค ์คํ

- ํ์ค ์คํ
- ์ค๊ณ๋์ด๋ฉด์ ๋ฌธ์
- ํ์ค ์คํ์ ๊ธฐ๋ฐ์ผ๋ก ์ฌ๋ฌ ํ์ฌ์์ ์ค์ ์๋ํ๋ ์๋ฐ๋ฅผ ๋ง๋ ๋ค.
- ์๋ฐ ํ์ค ์คํ์ ์๋ฐ ์ปค๋ฎค๋ํฐ ํ๋ก์ธ์ค(JCP)๋ฅผ ํตํด ๊ด๋ฆฌ๋๋ค.
- ๊ตฌํ
- ์ต์ ํ ๋ฑ ๊ฐ ํ์ฌ๋ง๋ค ๋ค๋ฅด๋ค.
- ์) Amazon Corretto๋ AWS์ ์ต์ ํ๋์ด ์๋ค.
- whichjdk.com/ko/
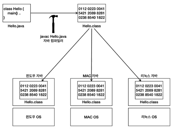
์ปดํ์ผ๊ณผ ์คํ

- ์ปดํ์ผ
- ์๋ฐ ์ปดํ์ผ๋ฌ๋ฅผ ์ฌ์ฉํด์ ์์ค ์ฝ๋๋ฅผ ์ปดํ์ผ ํ๋ค.
- ์๋ฐ๊ฐ ์ ๊ณตํ๋
javac๋ผ๋ ํ๋ก๊ทธ๋จ์ ์ฌ์ฉํ๋ค. .java->.classํ์ผ์ด ์์ฑ๋๋ค.- ์๋ฐ ์์ค ์ฝ๋๋ฅผ ๋ฐ์ดํธ์ฝ๋๋ก ๋ณํํ๋ฉฐ ์๋ฐ ๊ฐ์ ๋จธ์ ์์ ๋ ๋น ๋ฅด๊ฒ ์คํ๋ ์ ์๊ฒ ์ต์ ํํ๊ณ ๋ฌธ๋ฒ ์ค๋ฅ๋ ๊ฒ์ถํ๋ค.
- ์คํ
- ์๋ฐ๊ฐ ์ ๊ณตํ๋
java๋ผ๋ ํ๋ก๊ทธ๋จ์ ์ฌ์ฉํ๋ค. - ์๋ฐ ๊ฐ์ ๋จธ์ (JVM)์ด ์คํ๋๋ฉด์ ํ๋ก๊ทธ๋จ์ด ์๋ํ๋ค.
- ์๋ฐ๊ฐ ์ ๊ณตํ๋
intellJ๋ฅผ ํตํ ์๋ฐ ์ปดํ์ผ, ์คํ ๊ณผ์

- ์ปดํ์ผ
- ์๋ฐ ์ฝ๋๋ฅผ ์ปดํ์ผํ๋ ค๋ฉด
javac๋ผ๋ ํ๋ก๊ทธ๋จ์ ์ง์ ์ฌ์ฉํด์ผ ํ๋๋ฐ, ์ธํ ๋ฆฌ์ ์ด๋ ์๋ฐ ์ฝ๋๋ฅผ ์คํํ ๋ ์ด ๊ณผ์ ์ ์๋์ผ๋ก ์ฒ๋ฆฌํด์ค๋ค. - ์ธํ
๋ฆฌ์ ์ด ํ๋ฉด์์ ํ๋ก์ ํธ ๋ด
outํด๋์ ๊ฐ๋ณด๋ฉด ์ปดํ์ผ๋.classํ์ผ์ด ์๋ ๊ฒ์ ์ ์ ์๋ค.
- ์๋ฐ ์ฝ๋๋ฅผ ์ปดํ์ผํ๋ ค๋ฉด
- ์คํ
- ์๋ฐ๋ฅผ ์คํํ๋ ค๋ฉด
java๋ผ๋ ํ๋ก๊ทธ๋จ์ ์ฌ์ฉํด์ผ ํ๋ค. ์ด ๋ ์ปดํ์ผ๋.classํ์ผ์ ์ง์ ํด์ฃผ๋ฉด ๋๋ค. java Hello(ํ์ฅ์ ์ ์ธ)
- ์๋ฐ๋ฅผ ์คํํ๋ ค๋ฉด
- ์ปดํ์ผ ์ ํ์ ์๋ ์์(์ฃผ์ ๋ฑ)์ ์์ ๊ณ ์ต์ ํํ์ฌ ์งํํ๋ค.
- ์ธํ ๋ฆฌ์ ์ด์์ ์๋ฐ ์ฝ๋๋ฅผ ์คํํ๋ฉด ์ปดํ์ผ๊ณผ ์คํ์ ๋ชจ๋ ํ๋ฒ์ ์ฒ๋ฆฌํ๋ค.
์๋ฐ์ ์ด์์ฒด์ ๋ ๋ฆฝ์ฑ
- ์ผ๋ฐ์ ์ธ ํ๋ก๊ทธ๋จ์ ๋ค๋ฅธ ์ด์์ฒด์ ์์ ์คํํ ์ ์๋ค.
- ๋ค๋ฅธ OS์ ํธํ๋์ง ์๋๋ค!

- ์๋ฐ ํ๋ก๊ทธ๋จ์ ์๋ฐ๊ฐ ์ค์น๋ ๋ชจ๋ OS์์ ์คํ๋ ์ ์๋ค.
- OSํธํ์ฑ ๋ฌธ์ ๋ ์๋ฐ๊ฐ ํด๊ฒฐํด์ค๋ค.
- ๋ณธ์ธ์ OS๊ฐ ์ฌ์ฉํ๋ ๋ช ๋ น์ด๋ค๋ก ๊ตฌ์ฑ๋์ด ์๋ค.
์๋ฐ ๊ฐ๋ฐ๊ณผ ์ด์ ํ๊ฒฝ

- ์๋ฐ์ ์ด์์ฒด์ ๋ ๋ฆฝ์ฑ ๋๋ถ์ ๊ฐ๊ฐ์ ํ๊ฒฝ์ ๋ง์ถฐ ์๋ฐ๋ฅผ ์ค์นํ๋ ๊ฒ์ด ๊ฐ๋ฅํ๋ค.
๋ณ์
๋ณ์ ์์
package variable;
public class Var1 {
public static void main(String[] args) {
System.out.println(10);
System.out.println(10);
System.out.println(10);
}
}
- ํจํค์ง (package)
- ์๋ฐ ํ์ผ์ ๊ตฌ๋ถํ๊ธฐ ์ํ ํด๋
- ์๋ฐ ํ์ผ์ด ์์นํ๋ ํจํค์ง์
package variable์ ์ธ ์์น๊ฐ ๊ฐ์์ผ ํ๋ค.
package variable;
public class Var2 {
public static void main(String[] args) {
int a; // ๋ณ์ ์ ์ธ
a = 10; // ๋ณ์ ์ด๊ธฐํ
System.out.println(a);
System.out.println(a);
System.out.println(a);
a = 20; // ๋ณ์ ์ด๊ธฐํ
System.out.println(a);
System.out.println(a);
System.out.println(a);
}
}
- ๋ณ์
- ๋ฐ์ดํฐ๋ฅผ ๋ด์ ์ ์๋ ๊ทธ๋ฆ
- ์ด๋๊ฐ์ ๊ฐ์ ๋ณด๊ดํด๋๊ณ ํ์ํ ๋ ๊ฐ์ ๊บผ๋ด์ ์ฝ์ ์ ์๋ ์ ์ฅ์
- ๋ณํ ์ ์๋ ๊ฐ
a = 10
- 10์ a ์ ์ ์ฅํ๋ค.
=์ค๋ฅธ์ชฝ์ ์๋ ๊ฐ์ ์ผ์ชฝ์ ์ ์ฅํ๋ค.- ๋ณ์์ ๊ฐ์ ๋์ ํ๋ค.
- ๋ณ์ ์ด๊ธฐํ
System.out.println(a);
a์๋ฐ๋ ์คํ ์์ ์ ๋ณ์์ ์ ์ฅ๋์ด ์๋ ๊ฐ์ ์ฝ์ด ์ฌ์ฉํ๋ค.- ๋ณ์์ ๊ฐ์ ๋ฐ๋ณตํด์ ์ฝ์ ์ ์๋ค.
a = 20;
- ๋ณ์์ ๊ฐ์ ๋ณ๊ฒฝ๊ฐ๋ฅํ๋ค.
๋ณ์ ๊ฐ ๋ณ๊ฒฝ
package variable;
public class Var3 {
public static void main(String[] args) {
int a; // ๋ณ์ ์ ์ธ
a = 10; // ๋ณ์ ์ด๊ธฐํ a(50)
System.out.println(a);
a = 50; // ๋ณ์ ๊ฐ ๋ณ๊ฒฝ a(10 -> 50)
System.out.println(a);
}
}
- ๋ณ์์ ๊ฐ์ ๋ณ๊ฒฝํ๋ฉด ๋ณ์์ ๋ค์ด์๋ ๊ธฐ์กด ๊ฐ์ ์ญ์ ๋๋ค.
๋ณ์ ์ ์ธ๊ณผ ์ด๊ธฐํ
๋ณ์ ์ ์ธ
๋ณ์๋ฅผ ์ ์ธํ๋ฉด ์ปดํจํฐ์ ๋ฉ๋ชจ๋ฆฌ ๊ณต๊ฐ์ ํ๋ณดํด์ ๊ทธ๊ณณ์ ๋ฐ์ดํฐ๋ฅผ ์ ์ฅํ ์ ์๋ค.
๊ทธ๋ฆฌ๊ณ ๋ณ์์ ์ด๋ฆ์ ํตํด์ ๋ฉ๋ชจ๋ฆฌ ๊ณต๊ฐ์ ์ ๊ทผํ ์ ์๋ค.๋ฐ์ดํฐ๋ฅผ ๋ณด๊ดํ ์ ์๋ ๊ณต๊ฐ์ ๋ง๋ค๊ณ ๊ทธ๊ณณ์ ์ด๋ฆ์ ๋ถ์ฌํ๋ค.
package variable;
public class Var4 {
public static void main(String[] args) {
int a;
int b;
int c,d;
}
}
๋ณ์ ์ด๊ธฐํ
๋ณ์๋ฅผ ์ ์ธํ๊ณ ์ ์ธํ ๋ณ์์ ์ฒ์์ผ๋ก ๊ฐ์ ์ ์ฅํ๋ ๊ฒ์ ์ด๊ธฐํ๋ผ๊ณ ํ๋ค.
package variable;
public class Var5 {
public static void main(String[] args) {
// 1. ๋ณ์ ์ ์ธ, ์ด๊ธฐํ ๋ฐ๋ก
int a;
a = 1;
System.out.println(a);
// 2. ๋ณ์๋ฅผ ์ ์ธํ๋ฉด์ ๋์์ ์ด๊ธฐํ
int b = 2;
System.out.println(b);
// 3. ์ฌ๋ฌ ๋ณ์๋ฅผ ํ ๋ฒ์ ์ ์ธํ๋ฉด์ ์ด๊ธฐํ
int c = 3, d = 4;
System.out.println(c);
System.out.println(d);
}
}
๋ณ์๋ฅผ ์ด๊ธฐํํ์ง ์๋๋ค๋ฉด?
package variable;
public class Var6 {
public static void main(String[] args) {
int a;
System.out.println(a);
}
}
java: variable a might not have been initialized
- ์ปดํ์ผ ์ค๋ฅ๊ฐ ๋ฐ์ํ๋ค
- ์ปดํจํฐ์์ ๋ฉ๋ชจ๋ฆฌ๋ ์ฌ๋ฌ ์์คํ ์ ํจ๊ป ์ฌ์ฉํ๋ ๊ณต๊ฐ์ด๋ค. ๊ทธ๋์ ์ด๋ ํ ๊ฐ๋ค์ด ๊ณ์ ์ ์ฅ๋๋ค. ๋ณ์๋ฅผ ์ ์ธํ๋ฉด ๋ฉ๋ชจ๋ฆฌ์์ ์ด๋ค ๊ณต๊ฐ์ ์ฐจ์งํ๊ณ ์ฌ์ฉํ๋ค. ๊ทธ๋ฐ๋ฐ ๊ทธ ๊ณต๊ฐ์ ๊ธฐ์กด์ ์ด๋ค ๊ฐ์ด ์์๋์ง ์๋ฌด๋ ๋ชจ๋ฅธ๋ค. ๋ฐ๋ผ์ ์ด๊ธฐํ๋ฅผ ํ์ง ์์ผ๋ฉด ์ด์ํ ๊ฐ์ด ์ถ๋ ฅ๋๋ค. ์ด๋ฐ ๋ฌธ์ ๋ฅผ ์๋ฐฉํ๊ธฐ ์ํด ๋ณ์๋ฅผ ์ด๊ธฐํํ๋๋ก ๊ฐ์ ํ๋ค.
๐ก ์ง๊ธ ํ์ตํ๋ ๋ณ์๋ ์ง์ญ ๋ณ์(Local Variable)๋ก ๊ฐ๋ฐ์๊ฐ ์ง์ ์ด๊ธฐํํด์ค์ผ ํ๋ค.
๋์ค์ ๋ฐฐ์ธ ํด๋์ค ๋ณ์์ ์ธ์คํด์ค ๋ณ์๋ ์๋ฐ๊ฐ ์๋์ผ๋ก ์ด๊ธฐํ๋ฅผ ์งํํด ์ค๋ค.
๐ก ์ปดํ์ผ ์๋ฌ๋ ์๋ฐ ๋ฌธ๋ฒ์ ๋ง์ง ์์์ ๋ ๋ฐ์ํ๋ ์๋ฌ์ด๋ค.
์ปดํ์ผ ์๋ฌ๋ ์ค๋ฅ๋ฅผ ๋นจ๋ฆฌ, ๊ทธ๋ฆฌ๊ณ ๋ช ํํ๊ฒ ์ฐพ์ ์ ์๊ธฐ ๋๋ฌธ์ ์ข์ ์๋ฌ์ด๋ค.
๋น ๋ฅด๊ฒ ๋ฒ๊ทธ๋ฅผ ๊ณ ์น ์ ์๋ค.
๐ก ์๋ฌ๋ฅผ ํ์ธํ๊ณ ๋๋ฉด ์ฃผ์ ์ฒ๋ฆฌ๋ฅผ ํ์.
๊ทธ๋ ์ง ์์ผ๋ฉด ๋ค๋ฅธ ์์ ๋ฅผ ์คํํ ๋๋ ์ด ๋ถ๋ถ์ ์ปดํ์ผ ์๋ฌ๊ฐ ๋ฐ์ํ ์ ์๋ค.
๋ณ์ ํ์
- ๋ณ์๋ ๋ฐ์ดํฐ๋ฅผ ๋ค๋ฃจ๋ ์ข ๋ฅ์ ๋ฐ๋ผ ๋ค์ํ ํ์์ด ์กด์ฌํ๋ค.
package variable;
public class Var7 {
public static void main(String[] args) {
int a = 100; // ์ ์
double b = 10.5; // ์ค์
boolean c = true; // boolean true or false
char d = 'A'; // ๋ฌธ์ ํ๋
String e = "Hello Java"; // ๋ฌธ์์ด์ ๋ค๋ฃจ๊ธฐ ์ํ ํน๋ณํ ํ์
System.out.println(a);
System.out.println(b);
System.out.println(c);
System.out.println(d);
System.out.println(e);
}
}
int- ์ ์
double- ์ค์
boolean- ๋ถ๋ฆฌ์ธ ํ์
trueorfalse
char- ๋ฌธ์ ํ๋
'์์ ๋ฐ์ดํ๋ก ๊ฐ์ธ ์ฌ์ฉ
String- ๋ฌธ์์ด
"์๋ฐ์ดํ๋ก ๊ฐ์ธ ์ฌ์ฉ
- ๊ฐ ๋ณ์๋ ์ง์ ํ ํ์ ์ ๋ง๋ ๊ฐ์ ์ฌ์ฉํด์ผ ํ๋ค. ์ ๊ทธ๋ผ ์ปดํ์ผ ์ค๋ฅ ๋ฐ์.
- ๋ณ์์ ๊ฐ์ ๋ณํ ์ ์์ง๋ง ๋ฆฌํฐ๋ด์ ๊ฐ๋ฐ์๊ฐ ์ง์ ์ ๋ ฅํ ๊ณ ์ ๊ฐ์ด๋ค. ๋ฐ๋ผ์ ๋ฆฌํฐ๋ด ์์ฒด๋ ๋ณํ์ง ์๋๋ค.
๋ฆฌํฐ๋ด
๋ฆฌํฐ๋ด
์ฝ๋์์ ๊ฐ๋ฐ์๊ฐ ๋ณ์์ ์ด๊ธฐํํ ๊ฐ, ์ง์ ์ ์ ๊ฐ, ๊ณ ์ ๋ ๊ฐ์ ํ๋ก๊ทธ๋๋ฐ ์ฉ์ด๋ก์ ๋ฆฌํฐ๋ด(literal)์ด๋ผ๊ณ ํ๋ค.
int a = 100; // ์ ์ ๋ฆฌํฐ๋ด
double b = 10.5; // ์ค์ ๋ฆฌํฐ๋ด
boolean c = true; // boolean ๋ฆฌํฐ๋ด
char d = 'A'; // ๋ฌธ์ ํ๋ ๋ฆฌํฐ๋ด
String e = "Hello Java"; // ๋ฌธ์์ด์ ๋ฆฌํฐ๋ด
์ซ์ ํ์
package variable;
public class Var8 {
public static void main(String[] args) {
// ์ ์ (๋์์๋ก ๋ฉ๋ชจ๋ฆฌ๋ฅผ ๋ง์ด ์ฐจ์งํ๋ค.)
byte b = 127; // -128 ~ +127
short s = 32767; // -32,768 ~ +32,767
int i = 2_147_483_647; // -2,147,483,648 ~ +2,147,483,647 (์ฝ 21์ต)
long l = 9_223_372_036_854_775_807L; // -9,223,372,036,854,775,808 ~ +9,223,372,036,854,775,808
// ์ค์
float f = 3.14f;
double d = 3.14;
}
}
- ๋ฉ๋ชจ๋ฆฌ๋ฅผ ์๊ฒ ์ฌ์ฉํ๋ฉด ์์ ์ซ์๋ฅผ ํํํ ์ ์๊ณ , ๋ฉ๋ชจ๋ฆฌ๋ฅผ ๋ง์ด ์ฌ์ฉํ๋ฉด ํฐ ์ซ์๋ฅผ ํํํ ์ ์๋ค.
- ๋ณ์๋ฅผ ์ ์ธํ๋ฉด ํํ ๋ฒ์์ ๋ฐ๋ผ ๋ฉ๋ชจ๋ฆฌ ๊ณต๊ฐ์ ์ฐจ์งํ๋ค. ํ์์ ๋ง๋๋ก ๋ค์ํ ํ์
์ ์ ๊ณตํ๋ค.
byte: 1byte, 2^8short: 2byte, 2^16int: 4byte, 2^32long: 8byte, 2^64float: 4byte, 2^32double: 8byte, 2^64boolean: 1bytechar: 1byteString: ๋ฌธ์์ ๊ธธ์ด์ ๋ฐ๋ผ ๋์ ์ผ๋ก ๋ฌ๋ผ์ง
๋ฆฌํฐ๋ด ํ์ ์ง์
- ์ ์ ๋ฆฌํฐ๋ด์
int๋ฅผ ๊ธฐ๋ณธ์ผ๋ก ์ฌ์ฉํ๋ค.int๋ฒ์๋ฅผ ๋๊ธด๋ค๋ฉด ๋ฆฌํฐ๋ด์long์ผ๋ก ๋ณ๊ฒฝํด์ผ ํ๋ค.long์ ๋ค์ ๋๋ฌธ์L์ ๋ถ์ด๋ ๊ฒ์ด ๊ด๋ก์ด๋ค. (์๋ฌธ์์ ๊ฒฝ์ฐ ์ซ์์ ํท๊ฐ๋ฆฌ๊ธฐ ๋๋ฌธ)
- ์ค์ ๋ฆฌํฐ๋ด์
double์ ๊ธฐ๋ณธ์ผ๋ก ์ฌ์ฉํ๋ค.floatํ์ ์ฌ์ฉํ๋ ค๋ฉดf๋ฅผ ๋ค์ ๋ถ์ฌ์ผ ํ๋ค.- ์์์ ์ด ๊ต์ฅํ ๊ธธ๊ธฐ ๋๋ฌธ์ ์ฌ์ค
float๋ ์ ์ฐ์ง ์๋๋ค.
๋ณ์ ํ์ ์ ๋ฆฌ
- ์๋ ํ์
์ ์ค๋ฌด์์ ๊ฑฐ์ ์ฌ์ฉํ์ง ์๋๋ค.
byte- ํํ์ ๊ธธ์ด๊ฐ ๋๋ฌด ์๋ค.
- ์๋ฐ์ ๊ฒฝ์ ๊ธฐ๋ณธ 4byte(
int)๋ฅผ ํจ์จ์ ์ผ๋ก ๊ณ์ฐํ๋๋ก ์ค๊ณ๋์ด ์๋ค. - ํ์ผ์ ๋ฐ์ดํธ ๋จ์๋ก ๋ค๋ฃจ๊ธฐ ๋๋ฌธ์ ํ์ผ ์ ์ก, ํ์ผ ๋ณต์ฌ ๋ฑ์ ์ฃผ๋ก ์ฌ์ฉ๋๋ค.
short- ํํ์ ๊ธธ์ด๊ฐ ๋๋ฌด ์๋ค.
float- ํํ์ ๊ธธ์ด๊ฐ ์๊ณ ์ ๋ฐ๋๊ฐ ๋ฎ๋ค.
- ์์์ ์ ํํํ๊ธฐ์ ํํ์ ๊ธธ์ด๊ฐ ๋๋ฌด ์๋ค.
double์ฐ์ธ์.
char- ๋ฌธ์ ํ๋๋ฅผ ํํํ๋ ์ผ์ ๋ง์ด ์๋ค.
String์ผ๋ก๋ ๋ฌธ์ ํ๋๋ฅผ ํํํ ์ ์๋ค.
๐ก ๋ฉ๋ชจ๋ฆฌ ์ฉ๋์ ๋งค์ฐ ์ ๋ ดํ๋ค. ๋ฉ๋ชจ๋ฆฌ ์ฉ๋์ ์ ์ฝํ๋ ๊ฒ๋ณด๋ค ๊ฐ๋ฐ ์๋๋ ํจ์จ์ ์ด์ ์ ๋ง์ถ๋ ๊ฒ์ด ๋ ํจ์จ์ ์ด๋ค.
์์ฃผ ์ฌ์ฉํ๋ ํ์
- ์ ์
intlong
- ์ค์
double
- ๋ถ๋ฆฌ์ธํ
boolean
- ๋ฌธ์
String
๋ณ์ ๋ช ๋ช ๊ท์น
- ์๋ฐ์์ ๋ณ์ ์๋ช
๊ท์น๊ณผ ๊ด๋ก๊ฐ ์๋ค.
- ๊ท์น์ ์ ์งํค๋ฉด ์ปดํ์ผ ์ค๋ฅ๊ฐ ๋ฐ์ํ๋ค.
- ๊ด๋ก๋ ํ์๋ ์๋์ง๋ง ์ ์ธ๊ณ ๊ฐ๋ฐ์๊ฐ ํด๋น ๊ด๋ก๋ฅผ ๋ฐ๋ฅด๊ธฐ ๋๋ฌธ์ ์ฌ์ค์ ๊ท์น์ด๋ค.
๊ท์น
- ๋ณ์ ์ด๋ฆ์ ์ซ์๋ก ์์ํ ์ ์๋ค.
- ์ด๋ฆ์ ๊ณต๋ฐฑ์ด ๋ค์ด๊ฐ ์๋ ์๋ค.
- ์์ฝ์ด๋ฅผ ๋ณ์๋ก ์ฌ์ฉํ ์๋ ์๋ค.
- ๋ณ์ ์ด๋ฆ์๋ ์๋ฌธ์(
A-Z,a-z), ์ซ์(0-9), ๋ฌ๋ฌ๊ธฐํธ($), ๋๋ ๋ฐ์ค(_)๋ง ์ฌ์ฉ๊ฐ๋ฅํ๋ค.
๊ด๋ก
- camelCase (๋ํํ๊ธฐ๋ฒ)
- ๋ณ์์ ์ด๋ฆ์ ์๋ฌธ์๋ก ์์ํ๋ ๊ฒ์ด ์ผ๋ฐ์ ์ด๋ค.
- ์ฌ๋ฌ ๋จ์ด๋ก ์ด๋ค์ง ๋ณ์์ ๊ฒฝ์ฐ ์ฒซ๋จ์ด๋ ์๋ฌธ์๋ก ์์ํ๊ณ ๊ทธ ๋ค์์ผ๋ก ์ค๋ ๋จ์ด๋ ์ฒซ๊ธ์๋ฅผ ๋๋ฌธ์๋ก ์์ํ๋ค.
orderDetail,myAccount
๐ก ๋ํํ๊ธฐ๋ฒ, Camel Case
๋ํํ๊ธฐ๋ฒ์ ํ๋ก๊ทธ๋๋ฐ์์ ๋ณ์, ํจ์, ํด๋์ค ๋ฑ์ ์ด๋ฆ์ ์ง์๋ ๋ง์ด ์ฌ์ฉํ๋ ํ๊ธฐ๋ฒ ์ค ํ๋์ด๋ค. ์ด ํ๊ธฐ๋ฒ์ ์ด๋ฆ์ ์ด๋ฆ์ด ์ฌ๋ฌ ๋จ์ด๋ก ๊ตฌ์ฑ๋์ด ์์ ๋ ๊ฐ ๋จ์ด์ ์ฒซ ๊ธ์๊ฐ ๋๋ฌธ์๋ก ์์ํ๊ณ , ์ด ๋๋ฌธ์๋ค์ด ๋ํ์ ๋ฑ๋ด์ฒ๋ผ ๋ณด์ด๋ ๊ฒ์์ ์ ๋ํ๋ค. ๋ํํ๊ธฐ๋ฒ์ ์ฌ์ฉํ๋ฉด ์ด๋ฆ์ ๊ณต๋ฐฑ์ ๋ฃ์ง ์๊ณ ๋ ์ฌ๋ฌ ๋จ์ด๋ฅผ ์ฝ๊ฒ ๊ตฌ๋ถํ ์ ์์ผ๋ฏ๋ก, ๋ณ์์ ์ด๋ฆ์ ์ดํดํ๊ธฐ ์ฝ๊ฒ ๋ง๋ค์ด์ค๋ค. ๋ํ, ๋๋ถ๋ถ์ ํ๋ก๊ทธ๋๋ฐ ์ธ์ด์์๋์ด๋ฆ์ ๊ณต๋ฐฑ์ ํฌํจํ ์ ์๊ธฐ ๋๋ฌธ์, ๋ํํ๊ธฐ๋ฒ์ ์ด๋ฐ ์ ํ์ ์ฐํํ๋ ์ข์ ๋ฐฉ๋ฒ์ด๋ค.
์๋ฐ ์ธ์ด์ ๊ด๋ก
ํด๋์ค๋ ๋๋ฌธ์, ๋๋จธ์ง๋ ์๋ฌธ์
- ์๋ฐ์์ ํด๋์ค ์ด๋ฆ์ ์ฒซ ๊ธ์๋ ๋๋ฌธ์๋ก ์์ํ๋ค.
- Pascal Case
- ๋๋จธ์ง๋ ๋ชจ๋ ์ฒซ๊ธ์๋ฅผ ์๋ฌธ์๋ก ์์ํ๋ค.
- camel Case
- ์์ธ
- ์์๋ ๋ชจ๋ ๋๋ฌธ์๋ก ์ฌ์ฉํ๊ณ ์ธ๋๋ฐ๋ก ๊ตฌ๋ถํ๋ค
- SCREAMING_SNAKE_CASE
- ํจํค์ง๋ ๋ชจ๋ ์๋ฌธ์๋ฅผ ์ฌ์ฉํ๋ค.
- ์์๋ ๋ชจ๋ ๋๋ฌธ์๋ก ์ฌ์ฉํ๊ณ ์ธ๋๋ฐ๋ก ๊ตฌ๋ถํ๋ค
๐ก ๋ณ์ ์ด๋ฆ์ ์๋ฏธ์๊ณ ๊ทธ ์๋๋ฅผ ๋ช ํํ๊ฒ ์ค๋ช ํด์ผ ํ๋ค.
๋ฌธ์ ์ ํ์ด
๐ก ๋ฐฑ๋ฌธ์ด๋ถ์ฌ์ผํ!
๋ฌธ์ 1
๋ค์ ์ฝ๋์์ ๋ฐ๋ณตํด์ ๋์ค๋ ์ซ์ 4, 3์ ๋ค๋ฅธ ์ซ์๋ก ํ๋ฒ์ ๋ณ๊ฒฝํ ์ ์๋๋ก num1, num2๋ฅผ ์ฌ์ฉํ๋๋ก ๋ณ๊ฒฝํด๋ณด์ธ์.
package variable.ex;
public class VarEx1Question {
public static void main(String[] args) {
System.out.println(4 + 3);
System.out.println(4 - 3);
System.out.println(4 * 3);
}
}
VarEx1
package variable.ex;
public class VarEx1 {
public static void main(String[] args) {
int num1 = 4;
int num2 = 3;
System.out.println(num1 + num2);
System.out.println(num1 - num2);
System.out.println(num1 * num2);
}
}
๋ฌธ์ 2
๋ค์๊ณผ ๊ฐ์ ์์
์ ์ํํ๋ ํ๋ก๊ทธ๋จ์ ์์ฑํ์ธ์.
ํด๋์ค ์ด๋ฆ์ VarEx2๋ผ๊ณ ์ ์ด์ฃผ์ธ์.
- ๋ณ์
num1์ ์ ์ธํ๊ณ , ์ด์ 10์ ํ ๋นํ์ธ์. - ๋ณ์
num2๋ฅผ ์ ์ธํ๊ณ , ์ด์ 20์ ํ ๋นํ์ธ์. - ๋ ๋ณ์์ ํฉ์ ๊ตฌํ๊ณ , ๊ทธ ๊ฒฐ๊ณผ๋ฅผ ์๋ก์ด ๋ณ์
sum์ ์ ์ฅํ์ธ์. sum๋ณ์์ ๊ฐ์ ์ถ๋ ฅํ์ธ์.
VarEx2
package variable.ex;
public class VarEx2 {
public static void main(String[] args) {
int num1 = 10;
int num2 = 20;
int sum = num1 + num2;
System.out.println(sum);
}
}
๋ฌธ์ 3 - long, boolean ๋ฐ์ดํฐ ํ์
ํด๋์ค ์ด๋ฆ: VarEx3longํ์
์ ๋ณ์๋ฅผ ์ ์ธํ๊ณ , ๊ทธ ๋ณ์๋ฅผ 10000000000(๋ฐฑ์ต)์ผ๋ก ์ด๊ธฐํํ ํ ์ถ๋ ฅํ๋ ํ๋ก๊ทธ๋จ์ ์์ฑํ์ธ์.booleanํ์
์ ๋ณ์๋ฅผ ์ ์ธํ๊ณ , ๊ทธ ๋ณ์๋ฅผ true๋ก ์ด๊ธฐํํ ํ ์ถ๋ ฅํ๋ ํ๋ก๊ทธ๋จ์ ์์ฑํ์ธ์.
VarEx3
package variable.ex;
public class VarEx3 {
public static void main(String[] args) {
long longVar = 10_000_000_000L;
System.out.println(longVar);
boolean boolVar = true;
System.out.println(boolVar);
}
}'Java | Spring' ์นดํ ๊ณ ๋ฆฌ์ ๋ค๋ฅธ ๊ธ
| [Java] ์ฝ๋๋ก ์์ํ๋ ์๋ฐ ์ฒซ ๊ฑธ์ (4-6) (3) | 2024.12.20 |
|---|---|
| [Java] ์ฝ๋๋ก ์์ํ๋ ์๋ฐ ์ฒซ ๊ฑธ์ (1-3) Q & A (3) | 2024.12.19 |
| [Java] SLF4J LoggerFactory ์ฌ์ฉ (0) | 2021.04.05 |
| [Java] Why does the string data type have a .toString() method? (1) | 2021.04.05 |
| [Java][Springboot] (4) Spring ํ๋ก์ ํธ ์์ฑํ๊ธฐ, VSCode Spring Initializer, ์ฝ์ง์ ์ฐ์ (0) | 2020.11.26 |